聯系方式
JP-LZS型塑料管轉子流量計錐管主要部分均由AS,ABS塑料制成,有較好的耐腐性能,具有結構合理、體積小、重量輕、錐管不易破碎等特點。可廣泛應用于化工、環保、食品等工業部門。
塑料管轉子流量計連接方式可分為:插接、焊接、螺紋和法蘭連接四種。
一、JP-LZS 塑料管轉子流量計技術參數:
1.流量范圍表:
2.溫度:≤60℃,
3.壓力:≤0.6MPa,
4.精度:±5%。
二、塑料管轉子流量計外形及安裝尺寸:
1.外形圖及構造:
2.尺寸規格表:
| 通徑 | 流量范圍(L/h) | 通徑 | 流量范圍(m3/h) | 通徑 | 流量范圍(m3/h) |
| DN15 | 5~50 | DN32 | 0.4~4 | DN100 | 12~60 |
| 10~100 | 0.6~6 | 18~90 | |||
| 16~160 | DN50 | 1~10 | 20~120 | ||
| 25~250 | 1.6~16 | DN125 | 25~150 | ||
| 40~400 | DN65 | 5~25 | 30~180 | ||
| 50~500 | 8~40 | DN150 | 12~60 | ||
| 60~600 | 12~60 | 18~90 | |||
| 100~1000 | DN80 | 5~25 | 20~120 | ||
| DN25 | 100~1000 | 8~40 | 25~150 | ||
| 160~1600 | 12~60 | 30-180 | |||
| 250~2500 |
3.壓力:≤0.6MPa,
4.精度:±5%。
二、塑料管轉子流量計外形及安裝尺寸:
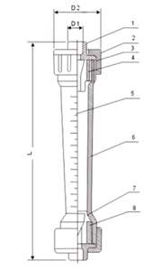
1.外形圖及構造:
| 外形 | 構造 | 外形 | 構造 |
|
1.接管 2.螺帽 3.“0”密封圈 4.上止擋 5.刻度尺 6.錐管 7.浮子 8.下止擋 |
|
1.法蘭 2. “0”密封圈 3. 錐管 4. 刻度尺 5.導桿 6.浮子 |
| LZS-15~LZS-65 | LZS-100~LZS-150 | ||
2.尺寸規格表:
| 型 號 | 尺 寸(mm) |
適用管道 (mm) |
||
| L | D1 | D2 | ||
| JP-LZS-15 | 202 | 20 | 45 | 15或20 |
| JP-LZS-25 | 226 | 32 | 60 | 25或32 |
| JP-LZS-32 | 288 | 40 | 74 | 32或40 |
| JP-LZS-50 | 341 | 63 | 98 | 50或63 |
| JP-LZS-65 | 430 | 75 | 122 | 65或75 |
| JP-LZS-100 | 520 | 法蘭連接 | 100 | |
| JP-LZS-125 | 520 | 法蘭連接 | 125 | |
| JP-LZS-150 | 520 | 法蘭連接 | 150 | |









![[list:title]](/uploads/allimg/180722/1-1PH2121458.jpg)